Apple, il tasto home diventa mini joystick
di Redazione
17/01/2015
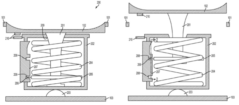
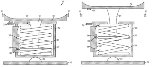
Un tasto home dello smartphone utilizzabile come un joystick. E' il nuovo brevetto della Apple che è stato chiamato “Dispositivo di input multifunzione” e permette di “trasformare” il tasto centrale dell’iPhone in un vero e proprio joystick. Basterà premerlo per qualche secondo fino a quando non si solleverà, a quel punto l'utente potrà utilizzarlo proprio come un controller di direzione dei videogiochi che naturalmente potrà successivamente rientrare quando non ci sarà più necessario. Il tasto in questione non dovrebbe intaccare minimamente l'estetica del dispositivo.
Una delle incognite riguarda il lettore di impronte digitali Touch ID per il semplice motivo che non è ancora ben chiaro se possa risultare compatibile con questa nuova funzionalità. Parliamo di un progetto che appare chiaramente collegato all’universo di App Store e dei gamer. Proprio i videogiochi sono infatti i software più popolari sul negozio virtuale del colosso degli Usa.
Un sistema di sollevamento a molla quindi quello ideato dall'azienda di Cupertino che però non ha chiarito se la funzionalità sia effettivamente prevista nei prossimi prodotti. Quello che appare chiaro è che un simile sistema di pop - up interno probabilmente non possa essere pienamente compatibile soprattutto con device ultrasottili; progetti sui quali il marchio della mela morsicata sta investendo maggiormente nell'ultimo periodo.
Nel brevetto gli ingegneri Apple descrivono questa soluzione come riservata al gaming, sottolineando come molti utenti siano riluttanti a dedicarsi ai titoli più impegnativi per la scarsa comodità dei controlli su schermo che, richiedendo l’uso delle dita sul display, riducono sensibilmente l’area visibile; un problema sicuramente non di primaria importanza sugli iPad, ma davvero fastidioso sui piccoli schermi degli iPhone. Questo tipo di soluzione di joystick integrato nel tasto centrale risolverebbe, inoltre, la problematica per i giocatori che non trovano comodo portare con sé un controller, cover o comunque periferiche separate oltre allo smartphone.
Articolo Precedente
Come stipulare l'assicurazione con lo smartphone
Articolo Successivo
Project Ara, lo smartphone componibile sul mercato di Porto Rico
Redazione